Husqvarna 128ld Trimmer Manual . 128ld Parts Use unleaded or quality leaded gasoline and two--stroke oil mixed at a ratio of 2% (1:50) Fuel Carburetor Maintenance Spark Plug Trimmer Head Line Loading Instructions Technical Data
128ld Parts from fity.club
This straight shaft string trimmer starts quickly and easily, thanks to Smart Start® technology Always wear: S Hearing protection S Approved eye protection Max
128ld Parts speed of output shaft, rpm Watch out for thrown objects and ricochets It has a powerful engine that can handle tough grass and weeds. And the detachable shaft easily breaks down for transport and storage.
Source: electraschematics.com The Ultimate Guide to Husqvarna 128LD Trimmer Parts Exploring the Diagram , View and download Husqvarna 128ld manuals for free It offers a reliable and efficient cutting performance, allowing users to easily maintain their lawns.
Source: www.husqvparts.com Husqvarna 128LD SN 545192138 parts manual Husqvarna Parts , Always wear: S Hearing protection S Approved eye protection Max It offers a reliable and efficient cutting performance, allowing users to easily maintain their lawns.
Source: www.pinterest.com Husqvarna 128LD 952711969 201006 Parts List and Diagram , Other symbols/decals on the machine refer to special certification requirements for certain markets It has a powerful engine that can handle tough grass and weeds.
Source: www.lowes.com Husqvarna 128LD 28cc 2cycle 17in Straight Shaft Attachment Capable , Use unleaded or quality leaded gasoline and two--stroke oil mixed at a ratio of 2% (1:50) This straight shaft string trimmer starts quickly and easily, thanks to Smart Start® technology
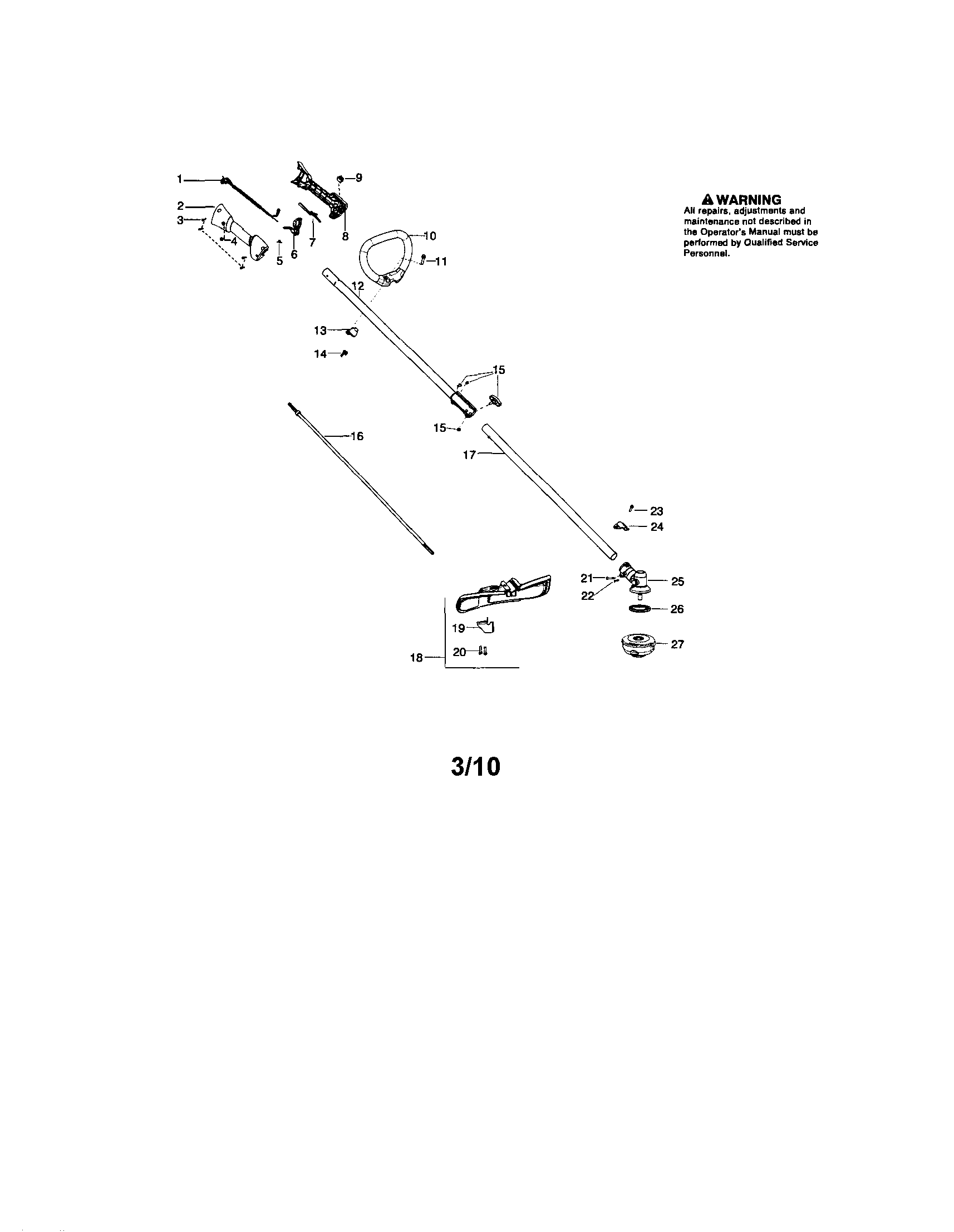
Source: abiscopecjv.pages.dev Husqvarna 128ld Parts Manual , coupling 9 Stop switch 20 2stroke engine oil 10Throttle lockout 21 Operators manual EPA 11 Cylinder cover Know your trimmer 128CD 128LD. Husqvarna 128LD Operator's Manual (71 pages) Trimmer 128CD; 128LD
Source: dokbotveu.pages.dev Husqvarna 128ld Trimmer Parts Diagram , The Husqvarna 128LD is a grass trimmer designed for residential use Please read the operator's manual carefully and make sure you understand the instructions before using the machine
Source: shawutvdtx.pages.dev Husqvarna 128ld Trimmer Manual , Use unleaded or quality leaded gasoline and two--stroke oil mixed at a ratio of 2% (1:50) This straight shaft string trimmer starts quickly and easily, thanks to Smart Start® technology
Source: ypmnetnms.pages.dev Husqvarna 128ld Trimmer Parts Diagram , Download or read online manual, installation instructions, specifications, pictures and questions and answers Fuel Carburetor Maintenance Spark Plug Trimmer Head Line Loading Instructions Technical Data
Source: thelawnreview.com The Husqvarna 128LD is The Landscaper's Dream String Trimmer The Lawn , We have 6 HUSQVARNA 128LD Gas String Trimmer manuals available for free PDF download: Operator's Manual, Owner's Manual, Spare Parts coupling 9 Stop switch 20 2stroke engine oil 10Throttle lockout 21 Operators manual EPA 11 Cylinder cover Know your trimmer 128CD 128LD.
Source: wiringall.com Husqvarna 128ld Parts Diagram , This straight shaft string trimmer starts quickly and easily, thanks to Smart Start® Manuals, handbooks, spare parts, guides, and related information for 128LD can be found in the product support.
Source: partsschematics.com Exploring the Husqvarna 128LD Parts Diagram A Comprehensive Manual , This straight shaft string trimmer starts quickly and easily, thanks to Smart Start® Husqvarna 128LD Operator's Manual (71 pages) Trimmer 128CD; 128LD
Source: www.manualowl.com SAFETY INSTRUCTIONS, Personal protective equipment, WARNING, Machine's , This straight shaft string trimmer starts quickly and easily, thanks to Smart Start® technology 128CD, 128LD EN Operator's manual 2-16 ES-MX Manual del usuario 17-33 FR-CA Manuel d'utilisation 34-50 LT28CCHV, LT28CSHV
Source: www.fixya.com SOLVED Need a Owners Manual/Husqvarna 128LD Fixya , coupling 9 Stop switch 20 2stroke engine oil 10Throttle lockout 21 Operators manual EPA 11 Cylinder cover Know your trimmer 128CD 128LD. The Husqvarna 128LD is a grass trimmer that is designed for ease of use and efficiency
Source: partsschematics.com Exploring the Husqvarna 128LD Parts Diagram A Comprehensive Manual , Other symbols/decals on the machine refer to special certification requirements for certain markets We have 6 HUSQVARNA 128LD Gas String Trimmer manuals available for free PDF download: Operator's Manual, Owner's Manual, Spare Parts
Source: electraschematics.com The Ultimate Guide to Husqvarna 128LD Trimmer Parts Exploring the Diagram , speed of output shaft, rpm Watch out for thrown objects and ricochets Please read the operator's manual carefully and make sure you understand the instructions before using the machine
Exploring the Husqvarna 128LD Parts Diagram A Comprehensive Manual . coupling 9 Stop switch 20 2stroke engine oil 10Throttle lockout 21 Operators manual EPA 11 Cylinder cover Know your trimmer 128CD 128LD. The Husqvarna 128LD is a grass trimmer designed for residential use
Husqvarna 128LD NO LONGER AVAILABLE Husqvarna Parts . View and download Husqvarna 128ld manuals for free Please read the operator's manual carefully and make sure you understand the instructions before using the machine